Catalog online

INAPOI

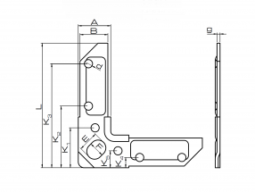
Colţuri pentru canale de ventilaţie N-NW


AGREMENT TEHNIC



Material: oțel inoxidabil 0H18N9

Aplicabilitate: pentru conectarea marginilor conductelor de ventilație. Colțurile trebuie selectate pentru tipurile de muchii de ventilație utilizate în conducta de ventilație.
Destinate pentru margini OW-20 Destinate pentru margini OW-30
Marcaj pentru comandă N-NW-20 N-NW-30
Număr catalog 8162020000281620300002
Cantitate [buc./amb.] 10050
Masa [kg] 0,030,07
A18,027,0
B15,025,0
L73,0 103,0
g2,02,5
K123,035,0
K2brak52,0
K351,087,0
K410,010,0
K58,013,0
E11,016,0
F9,013,0
d6,27,2

Produse compatibile


Material: oțel inoxidabil A4 Aplicație: realizarea unor elemente de fixare în beton fisurat și nefisurat dintr-o clasă mai mică decât C20/25

DETALII