Catalog online

INAPOI

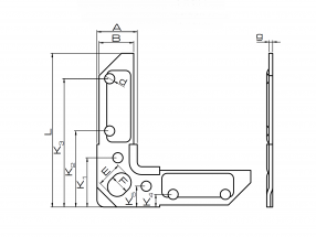
COLŢURI PENTRU CANALE DE VENTILAŢIE NW


AGREMENT TEHNIC



Protecție anti-coroziune:zinc galvanizat
Aplicabilitate: pentru conectarea marginilor conductelor de ventilație. Colțurile trebuie selectate pentru tipurile de muchii de ventilație utilizate în conducta de ventilație.
Destinate pentru margini OW-20 Destinate pentru margini OW-30 Destinate pentru margini OW-20
Marcaj pentru comandăNW-20 NW-30 NWL-20
Număr catalog 816202000008162030000081620205000
Cantitate [buc./amb.]1005050
Masa [kg] 0,030,070,07
A18,0 27,018,0
B15,0 25,015,0
L73,0103,095,0
g2,0 2,5 2,0
K123,035,0 23,0
K2brak52,051,0
K351,0 87,085,0
K410,010,010,0
K58,013,0 8,0
E11,016,012,0
F9,013,09,0
d6,27,26,0

Produse compatibile


Protecție anti-coroziune:zinc galvanizat Aplicabilitate: pentru realizarea și conectarea conductelor de ventilare și a armăturilor. Marginile și colțurile trebuie selectate în funcție de dimensiunile conductelor și de presiunea din conducta de venti

DETALII