Catalog online

INAPOI

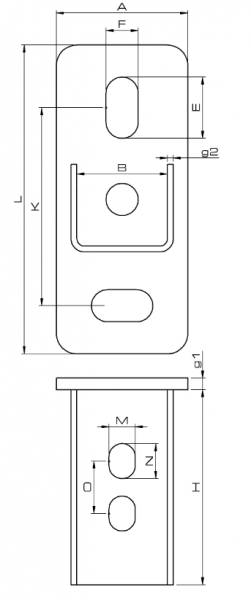
Console cu şa uşoare ST-SL


AGREMENT TEHNIC



Protecție împotriva coroziunii: zinc galvanic (la cerere este disponibil și la zincare la cald).
Fisa tehnica:
Declaratie: 03_2020 z dn. 24.08.2020
Aprobare: ITB-KOT-2018/0744 wyd. 2
Destinate pentru profilele A C MF MG
Marcaj pentru comandăST-SLA ST-SLC ST-SLMF ST-SLMG
Număr catalog81127030300 811270301608112704141081127041210
Cantitate [buc./amb.]5555
Masa [kg]0,220,162 0,505 0,299
Dimensiuni [mm]
A x L x g45x106x4 45x91x4 60x116x6 60x96x4
K68537858
F x E11x2111x2111x2111x21
B31314242
g2222,52,5
H67579090
MxN9x129x1213x16 13x16